ソニーはゲーム内で難しい場面に遭遇したプレイヤーをリアルタイムで支援する「AIゴーストプレイヤー」に関する特許を出願したことが明らかになりました。この技術は従来のチュートリアルやヒント機能とは異なり、AIがプレイヤーの操作を代行したり、個別にカスタマイズされたコーチングを提供することを目指すようです。
ソニーがAIを使ってゲームを支援する機能の特許を出願
AIはここ最近、様々な分野で導入が進んでいます。一方で、ゲームにおいてAIが活用される場面は、主に開発側の支援という側面に留まっています。しかし、ソニーは将来的に「AIゴースト」と呼ばれるAIを用いてプレイヤーを支援する機能の投入を検討しているようで、その出願特許から構想されている機能などの詳細が明らかになりました。
膨大なプレイ動画で学習したAIがゲームシナリオを識別



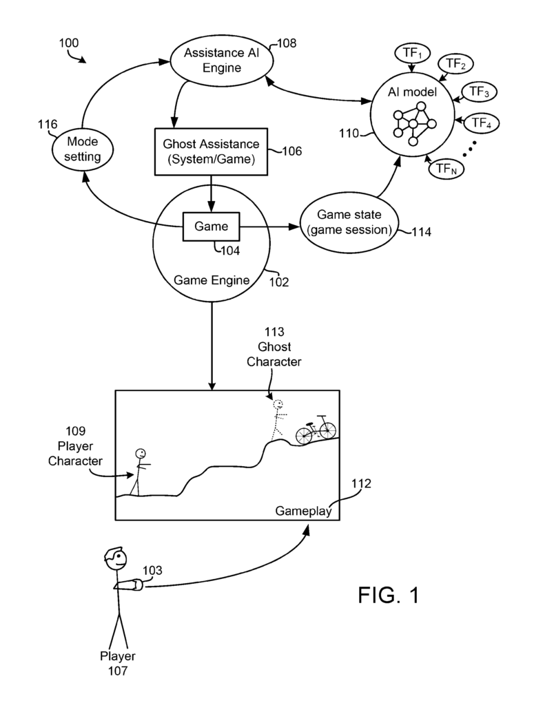
特許資料によると、AIモデルはゲームに関連する様々なトレーニング映像から学習を行います。映像ソースにはPlayStation Networkに投稿された過去のプレイデータや、TwitchやYouTubeなどサードパーティの動画配信サービス、SNSに投稿されたゲームプレイ動画、インターネット上のゲーム関連コンテンツなどが含まれるとのことです。
AIモデルはこれらの映像からコンテキスト特徴を抽出し、ゲームシナリオを識別・分類することで、各シナリオで進行に必要な操作などを学習します。また、プレイヤーがゲームをプレイしている際には、リアルタイムで生成されるゲームプレイデータをAIモデルが分析し、過去の映像から学習した類似シナリオと照合することで、状況に応じた支援を提供する仕組みになっています。
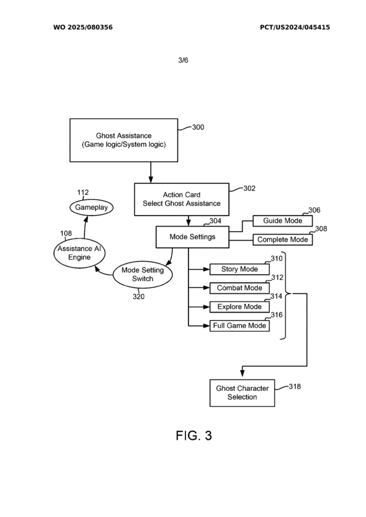
複数のモード設定で支援の種類をカスタマイズ可能
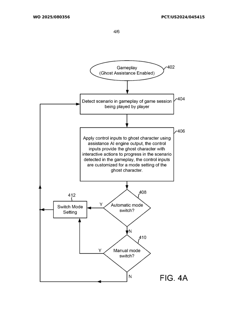
特許ではゴーストキャラクターによる支援方法を制御する「モード設定」が詳細に記載されています。
基本的なモードとして「ガイドモード」と「コンプリートモード」の2種類が用意されています。ガイドモードではゴーストキャラクターがゲームの進行方法を視覚的に示し、プレイヤーはそれを見て追従する形式です。一方、コンプリートモードではゴーストキャラクターが実際にゲーム内のタスクを完了し、プレイヤーに代わってゲームを進行させることが可能とのことです。
また、この2つのモードに加え、スタイル別のモードも4つ検討されているようです。
- ストーリーモード: ゲームのストーリーに必要な重要シーンのみを案内
- コンバットモード: 戦闘シーンに焦点を当てた支援
- 探索モード: 発見要素やレアアイテムの収集に特化
- フルゲームモード: ゲーム全体を通常の順序で案内
これらのモード設定はゲームプレイ中にいつでも切り替えることが可能で、プレイヤーの手動入力による切り替えのほか、ユーザープロファイルや学習された好みに基づいて自動的に切り替えることも想定されています。
視線追跡やカメラでより高度な支援も可能
VR環境では、ヘッドセットに内蔵されたアイトラッキングカメラでユーザーの目の動きをキャプチャーし、ユーザーが注目しているオブジェクトや興味を持っているコンテンツを検出することが可能です。また、外向きカメラによってユーザーの身体の動きやジェスチャーも追跡できるとのことです。
これらの情報は機械学習と組み合わせることで、ユーザーが次にどのコンテンツとインタラクションしようとしているかを予測し、より状況に即した支援を提供するために活用されると記載されています。
ゴーストキャラクターとの対話機能も搭載
ゴーストキャラクターの表示形態についても複数のオプションが記載されています。アウトライン表示、シャドウ表示、完全にアニメーション化されたキャラクター、映画のキャラクター(例としてスター・ウォーズのヨーダが挙げられています)、他のゲームのキャラクター、またはプレイヤー自身のカスタムキャラクターとして表示することが可能とのことです。
注目すべき機能として、プレイヤーがゴーストキャラクターに自然言語で質問できる点があります。特許資料では「川をどうやって飛び越えるの?」といった質問をプレイヤーが音声で行い、ゴーストキャラクターが言葉で説明したり、実際に動作をデモンストレーションしたりする例が示されています。
また、カラーインジケーター機能も含まれており、ゲーム進行に関連するオブジェクト(出口のドア、収集すべきアイテムなど)をハイライト表示することが可能です。ゴーストキャラクター自体も支援の緊急度に応じて色が変化する仕組みが想定されています。
アクセシビリティ向上の一方でプライバシーへの懸念も
このAIゴースト機能は、プレイヤーを案内または操作を代行する形でゲームを進行させるものです。例えば、身体的な制約により一部のコントローラー操作ができないプレイヤーを支援するなど、ゲームのバリアフリー化という観点では有用な機能といえそうです。
ただ、その一方で、学習方法にはサードパーティサービスの動画を使用する点や、AIゴースト利用時に「プレイヤーの行動データを継続的に収集する」仕組みが導入されるなど、プライバシーへの懸念もあります。特に、学習用とはいえ、これらのデータにはユーザー設定データ、プライバシーコントロールデータ、年齢設定なども含まれる可能性が記載されています。そのため、関連した広告を配信したり、マルチプレイで難易度を調整したりするなど、ユーザーの意図しない形で学習データが活用されてしまう懸念もあります。
なお、ソニーはゲーム内のゴア表現(残虐描写)や暴力描写をリアルタイムで修正したり、年齢やペアレンタルコントロールに基づいて台詞を変更したりするコンテンツ検閲機能の特許も出願しています。AIを活用した様々なアイデアが検討されているようですが、実際にこれらがゲームに導入されるのか、今後注目が集まります。
NVIDIAがエイプリルフール動画でAIがプレイヤーに代わってプレイする「GeForce GTX G-Assist」というネタ動画を作っていましたが、仮に実現すればそれが現実となりそうな機能といえます。ただ、ゲームの醍醐味は自分でプレイすることであり、プレイしてもらいたいなら配信動画を見ればいいだけですので、ユーザーの操作まで代行する「コンプリートモード」の必要性はイマイチ需要が分からないところです。
ただ、その一方でアクセシビリティという観点でプレイヤーをアシストする機能は、非常に良い取り組みともいえそうです。PlayStation 6などにこれらの機能が投入されるのか注目です。


